Häfla Lättdurk – Projektering
Vi hjälper mycket gärna till med råd och handledning när det gäller projektering av ditt lättdurksgolv och om så önskas även med balkunderredet. Lättdurk måste alltid skruvas fast mot upplaget den vilar på. Lättdurk får ej installeras löst liggande. Kontakta oss om du har några frågor.
Filtrering
Belastning
Lättdurk är avsedd för normal gångtrafik där utbredd last 5 kN/m² med max. nedböjning L/200 mm är dimensionerande för spännvidden.
Upp till spännvidd 1500 mm kan lättdurk monteras utan att lättdurksprofilerna sammanfogas underifrån med klämfästen.
Upp till spännvidd 2000 mm behöver lättdurksprofilerna sammanfogas underifrån med klämfästen varje meter för att motverka nedböjningsskillnader mellan lättdurksprofilerna. Då undviks risken för snubbelkant och det upplevs behagligt att gå på lättdurken.
Har ni andra belastningsfrågor gällande lättdurk så är ni välkomna att kontakta oss.
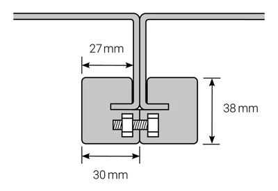
Sammanfogning med kLämfäste
Sammanfogning med klämfäste används vid spännvidder över 1500 mm. De båda bärlinorna samarbetar därigenom och nedböjningsskillnader mellan durkarna försvinner.
Mönster
Lättdurk tillverkas med olika mönster. Lättdurken finns i två varianter. Varje mönster har olika fördelar beroende på kraven som ställs på golvet.
Tät lättdurk LDT
Egenskaper:
Präglat mönster som ger säkert halkskydd. Kan ljudisoleras.
Användningsområde:
Överallt där du vill ha tätt golv. Perfekt för höga höjder.
| Profiler |
| 200 mm |
| 260 mm |
| 300 mm |
Perforerad lättdurk LDP
Egenskaper:
Bra halkskydd med ljusgenomsläpp.
Användningsområde:
Där det krävs utomordentlig halksäkerhet och där inga föremål får falla igenom.
Öppningsarea:
ca 30%
| Profiler |
| 200 mm |
| 260 mm |
| 300 mm |
System av profiler till önskad yta
Profiler av olika bredd kan användas för att belägga en större yta. Om inte exakt mått kan hittas genom att kombinera de olika profilbredderna kan den sista profilen för ytan längskapas och stöttas under med förstärkningsprofil LU 43 (LDP) eller LU 47 (LDT).
Exempel 1: En yta 3500 x 6500 mm ska beläggas. Ytan delas upp i 21 st profiler 3500 x 300 mm och 1 st profil 3500 x 200 mm.
Exempel 2: En yta 4580 x 7975 ska beläggas. Ytan delas upp i 26 st profiler 4580 x 300 mm och 1 st profil 4580 x 200 mm som längskapas till bredd 175 mm och stöttas under med förstärkningsprofil LU 43/LU 47.
Tillbehör
Sparklist, infästningsskruv och andra detaljer till Häflas Lättdurk är tillbehör som finns på vårt lager.
LK 140 Sparklist
Sparklist i specialprofil, placeras normalt vid alla öppningar och alla ytterkanter
| Längd (mm) | Höjd (mm) | Lagerförd | Art.nr. | Vikt (kg/st) |
| 2900 | 140 | 2502500 | 13,2 |
Hörn till sparklist
90° hörn till sparklist, finns både för ytter och innerhörn.
| Modell | Längd (mm) | Höjd (mm) | Lagerförd | Art.nr. | Vikt (kg/st |
| Ytterhörn | 150×150 | 130 | X | 2002100 | 1,1 |
| Innerhörn | 150×150 | 130 | X | 2002110 | 1,1 |
Gängpressande skruv till sparklist
| Dimension (mm) | Lagerförd | Art.nr. |
| M6x12 | X | 0501100 |
Infästningsskruv
Lättdurken fixeras med gängpressande skruv mot underredet.
| Dimension (mm) | Lagerförd | Art.nr. |
| M6x65 | X | 0501381 |
Gummilist
Monteras i skarven mellan durkarna (LDT) som tätning samt ljud och vibrationsdämpning. Levereras på rulle (10 meter/rulle).
| Dimension (mm) | Lagerförd | Art.nr. | Vikt (kg/st) |
| 25×3 | X | 2509900 | 2,0 |
Förstärkningsprofiler
När man skär i en lättdurk så upplagskanten försvinner ersätts denna av en lös profil. LU 43 används för perforerad lättdurk (LDP) och LU 47 används för tät lättdurk (LDT).
| Benämn. | Typ | Längd (mm) | Höjd (mm) | Lagerf. | Art.nr. | Vikt (kg/st) |
| LU 43 | LDP | 3000 | 43 | X | 2502520 | 8,2 |
| LU 47 | LDT | 3000 | 47 | X | 2502530 | 8,2 |