Hoppa till huvudinnehållet
Produkter Header Ag00004490

Raka trappor – Projektering


Filtrering

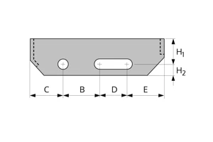
Mått på trappstegsgavlar – Gallerdurkssteg

Trappsteg har gavelhöjden 70 mm. Håldiameter Ø 14 mm för M12 skruv.

Stegdjup
mm
C B D E
130 50 25 15 40
160 50 37 35 38
200 50 65 35 50
230 50 77 35 68
260 50 83 35 92
300 50 115 35 100
         
  H1 = 55    
  H2 = 15    
Rakatrappor Steggavel Lightbox
Raktrappor Steg Lightbox

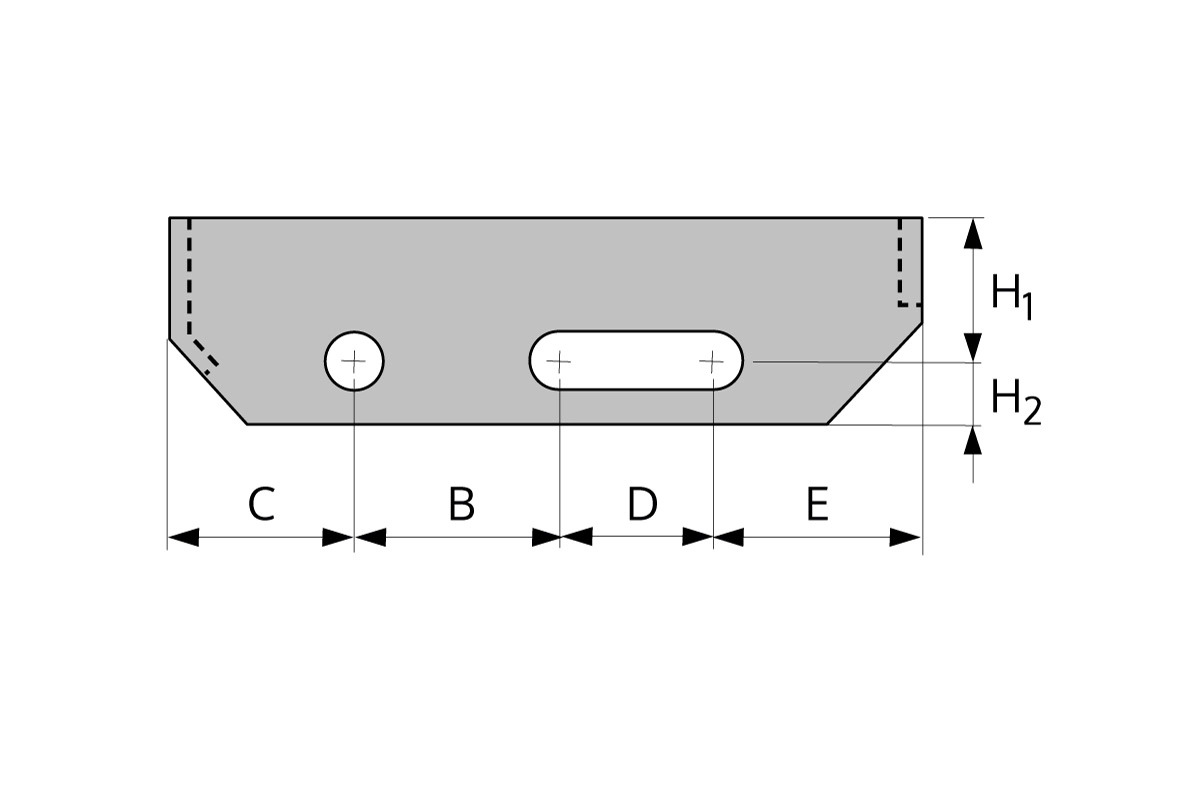
Mått på plangavel – Gallerdurksplan

Planer har gavelhöjden 70 mm. Håldiameter Ø 14 mm för M12 skruv.

Plangavel
mm
C B D E
500 50 315 35 100
700 50 515 35 100
1000 50 390 35 100
  H1 = 55    
  H2 = 15    
Rakatrappor Steggavel Lightbox

Plangavel djup 500 – 700 mm

Rakatrappor Plangavel Lightbox

Plangavel djup 1000 mm

Trappstegsgavlar – Lättdurkssteg

Håldiameter Ø 14 mm för M12 skruv.

Stegdjup mm A B C D E
200 200 65 50 35 92
260 260 84 50 35 92
300 300 116 50 35 120
Lattdurk Trappsteg Mattskiss 1200X779 1
Laettdurk Trappsteg Lagerformat Lightbox 2

Välj rätt stegförhållande

För den som går i trappen är säkerheten och balansen två viktiga faktorer. De gäller därför att ha den lämpliga proportionen mellan steghöjd och stegdjup i trappen.

Två steghöjder plus ett stegdjup bör ligga inom intervallet 590 till 630 mm. Ett exempel för en trappa med steghöjd 180 mm och stegdjupet 250 mm ger 2×180 +250 = 610 mm vilket ligger perfekt inom intervallet 590-630 mm.

Rakatrappor Stegdjup Lightbox 300X300

Föreskrifter och allmänna råd

När det gäller om- och nybyggnation, är Boverkets regelverk BBR (Boverkets Byggregler) i regel det styrande verktyget för exempelvis bredd på en utrymningstrappa, hur en ramp för rullstolsburna ska utformas eller hur en trappa i en offentlig miljö ska vara utformad för att vara tillgänglighetsanpassad. Om inte annat överenskommits följer vi alltid Boverkets Byggregler (föreskrifter och allmänna råd).

För aktuell version se boverkets hemsida